| নং | শিরোনাম | সেবার ধাপ | কার্যকলাপ |
|---|---|---|---|
| | |||
| ১ | উপজেলা পর্যায়ে প্রযুক্তি হস্তান্তরের জন্য প্রশিক্ষন | দেখুন | |
| ২ | ডিলার নিয়োগ | দেখুন | |
| ৩ | প্রযুক্তি হস্তান্তর | দেখুন | |
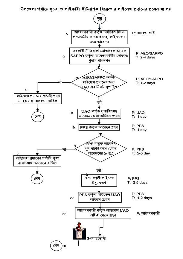
| ৪ | লাইসেন্স সংক্রান্ত সেবা | দেখুন | |
| ৫ | বীজ সংক্রান্ত সেবা | দেখুন | |
| ৬ | বালাই ব্যাবস্থাপনা সংক্রান্ত সেবা | দেখুন | |
| ৭ | মাটি ব্যবস্থাপনা সঙ্ক্রান্ত সেবা | দেখুন | |
| ৮ | ভর্তুকি সক্রান্ত সেবা | দেখুন |